
產品優勢和特點
具有輸送量大,結構簡單,維修方便,通用性強等優點,廣泛地在冶金、煤炭、交通、輕紡、水利水電、礦山、港口等領域的工程項目中用來輸送散狀物料或成件物品。根據工程項目中輸送工藝的要求,可以單機輸送,也可多臺或與其他輸送設備,提升設備組成水平或傾斜的輸送系統。
在環境溫度-10℃—40℃的范圍內使用,輸送料的溫度在50℃以下。對于防爆、防水、防腐及耐熱、耐寒等特殊要求的場合,可另行采取相應防護措施。
可輸送堆積比重在2.5t/m?以下的物料
按帶寬可分為:500、650、800、1000、1200、1400mm等六種規格。按帶速可分為:0.8、1.0、1.25、1.6、2.0、2.5、3.15、4.0米/秒等八種帶速,驅動裝置配置方式有TDY型油冷電動滾筒、ZQ型齒輪減速機和BW型擺線針輪減速機等,其整機結構,傳動裝置及其組合型式可按用戶和工藝要求進行靈活設計,精心制造,合理布置。
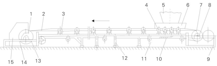
結構圖:
1.傳動滾筒/Driving pulley | 9.尾架/Taistock |
2.輸送帶/Conveyor | 10.空段清掃器/Empty segment sweeper |
3.上托輥/On Roller | 11.下托輥/Under the Roller |
4.緩沖托輥/Buffer Roller | 12.中間架/Middle shelf |
5.漏斗/Funnel | 13.頭架/Head frame |
6.導料擋板/Guide material baffle | 14.彈簧清掃器/Spring cleaning device |
7.改向滾筒/Bend pulley | 15頭罩/Hood |
8.螺旋拉緊裝置/Spiral tensioning device |
主要技術參數:
承載托輥形式
| 帶寬(mm) 輸送量(t/h) 帶速(m/s) | 500 | 650 | 800 | 1000 | 1200 | 1400 |
槽型托輥 | 0.8 | 78 | 131 | / | / | / | / |
1.0 | 97 | 164 | 278 | 435 | 655 | 891 | |
1.25 | 122 | 206 | 348 | 544 | 819 | 1115 | |
1.6 | 156 | 264 | 445 | 696 | 1048 | 1427 | |
2 | 191 | 323 | 546 | 853 | 1283 | 1748 | |
2.5 | 232 | 391 | 661 | 1033 | 1556 | 2118 | |
3.15 | / | / | 824 | 1233 | 1858 | 2528 | |
4 | / | / | / | / | 2202 | 2996 | |
平形上托輥 | 0.8 | 41 | 67 | 118 | / | / | / |
1 | 52 | 88 | 147 | 230 | 345 | 469 | |
1.25 | 66 | 110 | 184 | 288 | 432 | 588 | |
1.6 | 84 | 142 | 236 | 368 | 553 | 753 | |
2 | 103 | 174 | 289 | 451 | 677 | 922 | |
2.5 | 125 | 211 | 350 | 546 | 821 | 1117 |




